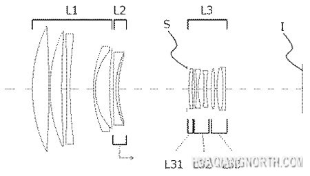
近日,适马公布了一项对应于135画幅的“300mm F2.8”超长焦定焦镜头专利。该专利镜头采用了1片具有萤石般光学品质的FLD镜片和5片普通超低色散镜片,各像差接近于零,内置防抖系统。据推测,该专利镜头极有可能成为Sports运动型产品线的新款镜头。以下是结构图和基本资料:
专利公开号:2013-218088
申请日:2012.4.9
公开日:2013.10.24

焦距:289.90mm
光圈:2.90
全视角:8.50°
像高:21.63mm
镜头全长:189.94mm
镜头结构:14片10组,内含1片FLD镜片和5片普通超低色散镜片。
采用正负正的光学结构,第二组镜片用于内部对焦,第三组镜片用于防抖。
曲线图:
球面像差、像散和失真

倍率色像差

(责任编辑:island7)
高通首发10纳米服务器处理器已开卖
高通公司周三表示,公司的新服务器处理器Centriq 2400开始对外销售,试图打破英特尔在服务器芯片领域的主导地位。据称,Centriq
0评论2017-11-102475
联发科携DOCOMO开发芯片测试成功
联发科去年携手日本NTT DOCOMO携手发展5G通讯技术,今年双方合作成果显现,DOCOMO宣布,双方运用DOCOMO"非正交多工存取(NOMA)无
0评论2017-11-101909
英特尔造出量子计算新型超导芯片
10日,英特尔宣布使用先进的材料科学和制造技术制造了一种新型超导芯片,并将其交付给英特尔在荷兰的研究伙伴QuTech。这是英特尔
0评论2017-10-122403
运营商物联网平台进入“战国时代”
在人口红利逐渐消失,流量价格不断走低,网络制式和相关技术不断成熟的背景下,物联网已经成为了三大运营商竞相争夺的下一个战略
0评论2017-09-30967